
product center

双排球式回转支承(02系列)——无齿式
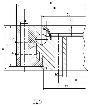
结构特点、性能、适用范围
双排球式回转支承具有三个座圈,钢 球和隔离块可直接排入上下滚道,根据受力状况,安排了上下两排直径不同的钢球。这种开式装配非常方便,上下圆弧滚道的承载角都为90°,能承受很大的轴向 力和倾翻力矩。当径向力大于0.1倍的轴向力时滚道须特殊设计。双排球式回转支承的轴向、径向尺寸都比较大,结构紧固。特别适用于要求中等以上直径的塔式 起重机,汽车起重机等装卸机械上。
序号
无齿式
外型尺寸
安装尺寸
结构尺寸
参考
D
d
H
D1
D2
n
mm
n1
H1
h
1
020.25.500
616
384
106
580
420
20
18
4
96
26
100
2
020.25.560
676
444
106
640
480
20
18
4
96
26
115
3
020.25.630
746
514
106
710
550
24
18
4
96
26
130
4
020.25.710
826
594
106
790
630
24
18
4
96
26
140
5
020.30.800
942
658
124
898
702
30
22
6
114
29
200
6
020.30.900
1042
758
124
998
802
30
22
6
114
29
250
7
020.30.1000
1142
858
124
1098
902
36
22
6
114
29
300
8
020.30.1120
1262
978
124
1218
1022
36
22
6
114
29
340
9
020.40.1250
1426
1074
160
1374
1126
40
26
5
150
39
580
10
020.40.1400
1576
1224
160
1524
1272
40
26
5
150
39
650
11
020.40.1600
1776
1424
160
1724
1476
45
26
5
150
39
750
12
020.40.1800
1976
1624
160
1924
1676
45
26
5
150
39
820
13
020.50.2000
2215
1785
190
2149
1851
48
33
8
178
47
1150
14
020.50.2240
2455
2025
190
2389
2091
48
33
8
178
47
1500
15
020.50.2500
2715
2285
190
2649
2351
56
33
8
178
47
1700
16
020.50.2800
3015
2585
190
2949
2651
56
33
8
178
47
1900
17
020.60.3150
3428
2872
226
3338
2962
56
45
8
214
56
3300
18
020.60.3550
3828
3272
226
3738
3362
56
45
8
214
56
3700
19
020.60.4000
4278
3722
226
4188
3812
60
45
10
214
56
4200
20
020.60.4500
4778
4222
226
4688
4312
60
45
10
214
56
4700
DL
mm
重量
kg
mm
mm
mm
mm
mm
mm
mm
mm