
product center

双排球式回转支承(02系列)——外齿式
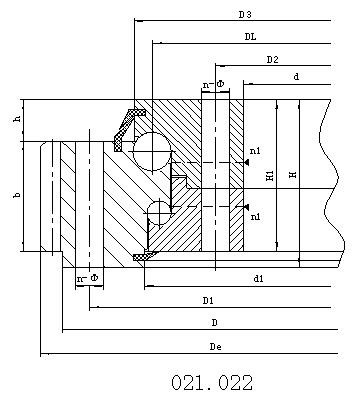
结构特点、性能、适用范围
双排球式回转支承具有三个座圈,钢 球和隔离块可直接排入上下滚道,根据受力状况,安排了上下两排直径不同的钢球。这种开式装配非常方便,上下圆弧滚道的承载角都为90°,能承受很大的轴向 力和倾翻力矩。当径向力大于0.1倍的轴向力时滚道须特殊设计。双排球式回转支承的轴向、径向尺寸都比较大,结构紧固。特别适用于要求中等以上直径的塔式 起重机,汽车起重机等装卸机械上。
序
外齿式
外型尺寸
安装尺寸
结构尺寸
齿轮参数
齿轮圆周力
参考
D
d
H
D1
D2
n
mm
n1
H1
h
b
x
m
De
z
正火
调质
1
021.25.500
616
384
106
580
420
20
18
4
96
26
60
0.5
5
644
126
3.7
5.2
100
022.25.500
6
646.8
105
4.5
6.2
2
021.25.560
676
444
106
640
480
20
18
4
96
26
60
0.5
5
704
138
3.7
5.2
115
022.25.560
6
706.8
115
4.5
6.2
3
021.25.630
746
514
106
710
550
24
18
4
96
26
60
0.5
6
790.8
129
4.5
6.2
130
022.25.630
8
790.4
96
6
8.3
4
021.25.710
826
594
106
790
630
24
18
4
96
26
60
0.5
6
862.8
141
4.5
6.2
140
022.25.710
8
862.4
105
6
8.3
5
021.30.800
942
658
124
898
702
30
22
6
114
29
80
0.5
8
982.4
120
8
11.1
200
022.30.800
10
988
96
10
14
6
021.30.900
1042
758
124
998
802
30
22
6
114
29
80
0.5
8
1086.4
133
8
11.1
250
022.30.900
10
1088
106
10
14
7
021.30.1000
1142
858
124
1098
902
36
22
6
114
29
80
0.5
10
1198
117
10
14
300
022.30.1000
12
1197.6
97
12
16.7
8
021.30.1120
1262
978
124
1218
1022
36
22
6
114
29
80
0.5
10
1318
129
10
14
340
022.30.1120
12
1317.6
107
12
16.7
9
021.40.1250
1426
1074
160
1374
1126
40
26
5
150
39
90
0.5
12
1497.6
122
13.5
18.8
580
022.40.1250
14
1495.2
104
15.8
21.9
10
021.40.1400
1576
1224
160
1524
1272
40
26
5
150
39
90
0.5
12
1641.6
134
13.5
18.8
650
022.40.1400
14
1649.2
115
15.8
21.9
11
021.40.1600
1776
1424
160
1724
1476
45
26
5
150
39
90
0.5
14
1845.2
129
15.8
21.9
750
022.40.1600
16
1852.8
113
18.1
25
12
021.40.1800
1976
1624
160
1924
1676
45
26
5
150
39
90
0.5
14
2055.2
144
15.8
21.9
820
022.40.1800
16
2060.8
126
18.1
25
13
021.50.2000
2215
1785
190
2149
1851
48
33
8
178
47
120
0.5
16
2300.8
141
24.1
33.3
1150
022.50.2000
18
2300.4
125
27.1
37.5
14
021.50.2240
2455
2025
190
2389
2091
48
33
8
178
47
120
0.5
16
2540.8
156
24.1
33.3
1500
022.50.2240
18
2552.4
139
27.1
37.5
15
021.50.2500
2715
2285
190
2649
2351
56
33
8
178
47
120
0.5
18
2804.4
153
27.1
37.5
1700
022.50.2500
20
2816
138
30.1
41.8
16
021.50.2800
3015
2585
190
2949
2651
56
33
8
178
47
120
0.5
18
3110.4
170
27.1
37.5
1900
022.50.2800
20
3116
153
30.1
41.8
17
021.60.3150
3428
2872
226
3338
2962
56
45
8
214
56
150
0.5
20
3536
174
37.7
52.2
3300
022.60.3150
22
3537.6
158
41.5
57.4
18
021.60.3550
3828
3272
226
3738
3362
56
45
8
214
56
150
0.5
20
3936
194
37.7
52.2
3700
022.60.3550
22
3933.6
176
41.5
57.4
19
021.60.4000
4278
3722
226
4188
3812
60
45
10
214
56
150
0.5
22
4395.6
197
41.5
57.4
4200
022.60.4000
25
4395
173
47.1
65.2
20
021.60.4500
4778
4222
226
4688
4312
60
45
10
214
56
150
0.5
22
4879.6
219
41.5
57.4
4700
022.60.4500
25
4895
193
47.1
65.2
号
DL
mm
重量
kg
mm
mm
mm
mm
mm
mm
mm
mm
mm
mm
mm
Z 104N
T 104N
注:
1、n1为润滑油孔数,均布:油杯M10×1 JB/T7940.1-JBT7940.2
2、安装孔n-dn1、n-dn2可改用螺孔;齿宽b可改为H-h。
3、表内齿轮圆周力为最大圆周力,额定圆周力取其1/2。
4、外齿修顶系数0.1。